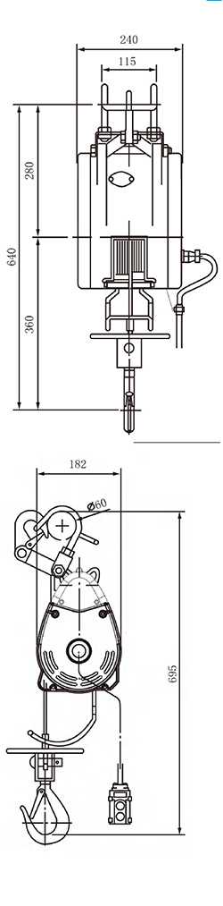
USAGE:
Suitable for hanging and lifting the structure, curtain-wall glass, advertising board, and other materials for storage or freight transportation. It has the advantages of compact structure, high efficiency, light weight, easy-to-use power supply, and cost saving.
SPECIAL FEATURES:
Motor system:
Permanent magnet brushless maglev motor, which is industrial-grade, not easily damaged, with two single-phase voltages (110V/220V) to choose. With high power and high efficiency, it'ssuitable for long time working. It features a temperature protectiondevice, an overload protection device, and stepless speed regulation. The temperature of the enameled wire can reach 200℃, and produc-tion levelincreased by ED50%.
Electric control system:
The circuit has no capacitor and is controlled by the SCM. It features stableperformance, high power factor, plug and pull wiring, convenientand reliable operation and maintenance.
Brake system:
The dual braking system uses mechanical ratchet braking and resistive short-circuit control. The high friction coefficient sintered brakemakes the motor durable and can be immediately braked in case ofpower failure or winch failure, which makes the motor high safety andong service life.
safety system:
When the hook rises to a certain lifting height or when the wire ropeis reversed, the limit switch will be triggered to protect the machineand stop the machine from working.
Cable specifications:
Using top brand imported wire rope, the safety factor is 4 times thatof ordinary machines.
Gear system:
Use high efficiency bevel drive reduction gear. This type of gearundergoes special heat treatment, and its strength is three timeshigher than ordinary products.
Main unit housing:
The housing of the motor and gearbox is a one-piece aluminum alloydie-casting istructure with strong toughness. It is machined by CNC with high precision, which makes the running of the winch smooth andlow noise. The surface of housing is powder coated, which grade issame as automobile with a nice appearance. It also features compact







